Product Summary
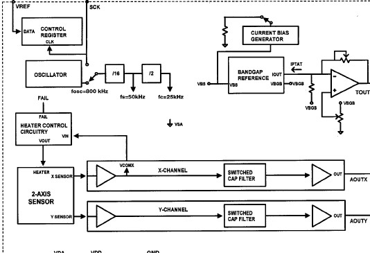
The MX29F002BQC-70 is a very low cost dual-axis acceleration sensor on a monolithic IC. With no moving parts, the device is extremely reliable and is manufactured on a submicron CMOS process enabling small geometries and small die size, resulting in low overall cost and high functionality.
Parametrics
MX29F002BQC-70 absolute maximum ratings: (1)Supply Voltage to Ground Potential: -0.5 to 7.0V ; (2)Storage Temperature: -65 to +150°C.
Features
MX29F002BQC-70 features: (1)Dual axis acceleration outputs; (2)Analog outputs, ratiometric; (3)1.0 mg Resolution in 1Hz bandwidth; (4)40 Hz Bandwidth expandable to 160 Hz See Application Note (AN-00MX-003); (5)Quiescent Supply Voltage: 3.5 mA.
Diagrams

![]() |
![]() MX29F001B |
![]() Other |
![]() |
![]() Data Sheet |
![]() Negotiable |
|
||||
![]() |
![]() MX29F001T |
![]() Other |
![]() |
![]() Data Sheet |
![]() Negotiable |
|
||||
![]() |
![]() MX29F001T/B |
![]() Other |
![]() |
![]() Data Sheet |
![]() Negotiable |
|
||||
![]() |
![]() MX29F002 |
![]() Other |
![]() |
![]() Data Sheet |
![]() Negotiable |
|
||||
![]() |
![]() MX29F002N |
![]() Other |
![]() |
![]() Data Sheet |
![]() Negotiable |
|
||||
![]() |
![]() MX29F002TTI-12 |
![]() Other |
![]() |
![]() Data Sheet |
![]() Negotiable |
|
||||
(China (Mainland))








