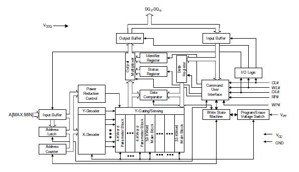
Product Summary
The TE28F800C3TA90 is a Flash Memory (C3) device, manufactured on Intel is latest 0.13 μm and 0.18 μm technologies, represents a feature-rich solution for low-power applications.
Parametrics
TE28F800C3TA90 absolute maximum ratings: (1)During Read: –40 °C to +85 °C; (2)During Block Erase and Program: –40 °C to +85 °C; (3)Temperature under Bias:–40 °C to +85 °C; (4)Storage Temperature:–65 °C to +125 °C; (5)Voltage On Any Pin (except VCC and VPP) with Respect to GND: –0.5 V to +3.7 V ; (6)VPP Voltage (for Block Erase and Program) with Respect to GND: –0.5 V to +13.5 V.
Features
TE28F800C3TA90 features: (1)Flexible SmartVoltage Technology; (2)1.65 V–2.5 V or 2.7 V–3.6 V I/O Option; (3)High Performance; (4)Optimized Architecture for Code Plus Data Storage; (5)Flexible Block Locking; (6)Low Power Consumption.
Diagrams

![]() |
![]() TE28F004S3-150 |
![]() Other |
![]() |
![]() Data Sheet |
![]() Negotiable |
|
||||
![]() |
![]() TE28F004S5-100 |
![]() Other |
![]() |
![]() Data Sheet |
![]() Negotiable |
|
||||
![]() |
![]() TE28F004SC-100 |
![]() Other |
![]() |
![]() Data Sheet |
![]() Negotiable |
|
||||
![]() |
![]() TE28F008B3B120 |
![]() Other |
![]() |
![]() Data Sheet |
![]() Negotiable |
|
||||
![]() |
![]() TE28F008B3BA110 |
![]() Other |
![]() |
![]() Data Sheet |
![]() Negotiable |
|
||||
![]() |
![]() TE28F008SA-100 |
![]() Other |
![]() |
![]() Data Sheet |
![]() Negotiable |
|
||||
(China (Mainland))








